Um unseren Shop in vollem Umfang nutzen zu können, empfehlen wir Ihnen Javascript in Ihrem Browser zu aktivieren.
Riesige Auswahl an Schrauben, Federn und Zubehör
Schnelle Lieferung - auch von Kleinmengen
Versandkostenfrei ab 80 EUR
Persönliche Beratung und Service
Menü schließen
Ihr Konto
Anmelden
oder
registrieren
Übersicht
Persönliches Profil
Adressen
Zahlungsarten
Bestellungen
0,00 €*
Schrauben
Muttern
Scheiben
Sicherungen
ohne Gewinde
Federn
Dübel
Donau-Elektronik
Werkzeuge
Zollschrauben
Normteile aus TITAN
ANGEBOTE
Zur Kategorie Schrauben
Sortimente
Sortimentskoffer
Holzschrauben
Blechschrauben
metrische Schrauben
Schrauben-Muttern-Scheiben
Muttern-Scheiben-Sicherungen
Werkzeugsortimente
sonstige Sortimente
Metrische Schrauben
Sechskantkopf
Zylinderkopf
Flachkopf
Linsenkopf
Senkkopf
Linsensenkkopf
Gewindestifte / Stangen
Abstandhalter
Schneidschrauben
Rändelschrauben
Gewindeeinsätze
Diebstahlhemmende (Rostfrei)
Besondere Schrauben
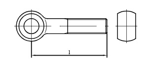
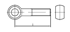
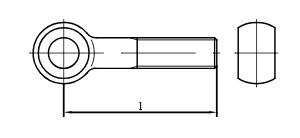
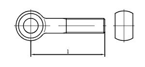
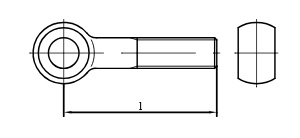
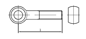
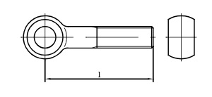
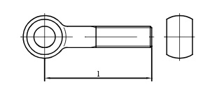
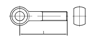
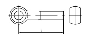
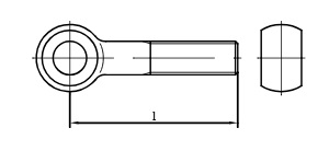
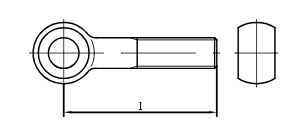
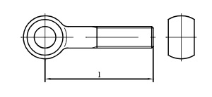
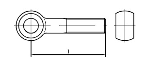
DIN 444 Augenschrauben
Stahl verzinkt
Blechschrauben
Sechskantkopf (DIN 7976)
Zylinderkopf
Linsenkopf
Senkkopf
Linsensenkkopf
DIN 7504 Bohrschrauben
Diebstahlhemmende (Rostfrei)
Holz- u. Spanplattenschrauben
Kleine Holz-/Blechschrauben (PH) 1-3 mm Durchmesser
JD-Plus PROFI-Holzschrauben (TX - mit ETA-Zulassung)
Sechskantkopf
Senkkopf
Linsensenkkopf
Halbrundkopf
Fassadenschrauben Rostfrei
Tellerkopfschrauben Edelstahl
Justierschrauben
Schraubhaken
SPAX-D Terassenschrauben Rostfrei
Schrauben für Kunststoffe
Linsenkopf
Linsenkopf mit Bund
Senkkopf
Einpressbolzen
Zur Kategorie Muttern
Sortimente
Sortimentskoffer
Holzschrauben
Blechschrauben
metrische Schrauben
Schrauben-Muttern-Scheiben
Muttern, Scheiben, Sicherungen
Werkzeugsortiment
sonstige Sortimente
Sechskantmuttern
Modellsechskantmuttern
DIN 934 Standard
DIN 555 Polyamid
DIN 439 (flach)
DIN 934 Feingewinde
DIN 934 Linksgewinde
kleine Muttern mit Schlüsselweite 2,5mm
DIN 6923 mit Flansch
DIN 6923 mit Sperrzähnen
selbstsichernde Muttern
DIN 985 (Standard)
DIN 985 Feingewinde
Thermag-Muttern (Auspuff-Muttern)
DIN 980 (Quetschmutter)
Hutmuttern
DIN 1587 hohe Form
DIN 917 niedrige Form
DIN 1587 Feingewinde
Vierkantmuttern
DIN 557 Vierkantmutter
DIN 562 niedrige Vierkantmuttern
Abstandhalter
Sechskant - Innen/Innen ab M2
Sechskant - Innen/Außen ab M2
Verbindungsmuffen
Rund
Sechskant
Flügelmuttern
DIN 315 (kantige Flügelform)
DIN 315 (runde Flügelform)
Rändelmuttern
DIN 466 hohe Form
DIN 467 niedrige Form
Ringmuttern
DIN 582 Rostfrei A2
DIN 582 Rostfrei A4
DIN 582 Stahl blank
DIN 582 Stahl verzinkt
sonstige Muttern
DIN 546 Schlitzmuttern
DIN 7965 Einschraubmuttern
Einschlagmuttern verzinkt
Hülsenmuttern
Gewindeeinsätze zum Einpressen
Zur Kategorie Scheiben
Sortimente
Sortimentskoffer
Holzschrauben
Blechschrauben
metrische Schrauben
Schrauben-Muttern-Scheiben
Muttern, Scheiben, Sicherungen
Werkzeugsortimente
sonstige Sortimente
Standardscheiben
DIN 125a (Standard)
DIN 125b mit Fase
Unterlegscheiben mit großem Außendurchmesser
DIN 9021 (Standard)
DIN 440R Holzbauscheiben
Kotflügelscheiben
DIN 7349 (dick)
DIN 433 kleiner Außendurchmesser
Stahl verzinkt
Rostfrei A2
Rostfrei A4
Messing
Stahl blank
DIN 988 Paßscheiben
Rostfrei
Stahl blank
Dichtringe
Aluminium
Kupfer
Rosetten
Rosetten geschlossen
Rosetten offen
Vollmetall gedreht Edelstahl
Zur Kategorie Sicherungen
Sortimente
Sortimentskoffer
Holzschrauben
Blechschrauben
metrische Schrauben
Schrauben-Muttern-Scheiben
Muttern-Scheiben-Sicherungen
Werkzeugsortimentef
sonstige Sortimente
chemische Schraubensicherung
zum Unterlegen
DIN 127a (aufgebogen)
DIN 127b (glatt = Standard)
DIN 137a (gewölbt)
DIN 137b (gewellt)
DIN 7980 für Zylinderschrauben
Fächerscheiben
Schnorrscheiben
Zahnscheiben
zum Durchstecken
DIN 1481 Spannstifte
DIN 11023 Klappsplinte
DIN 11024 Federstecker
Splinte DIN 94
Sicherungen für Wellen
DIN 471 Sicherungsringe
DIN 6799 Sicherungsscheiben
Sicherungen für Bohrungen
DIN 472 Rostfrei
DIN 472 Stahl blank
sonstige Sicherungen
DIN 705 A Stellringe
Zur Kategorie ohne Gewinde
Stifte
Kegelstifte DIN 1
Zylinderstifte
Nieten
Blindnieten
DIN 660 Halbrundniete
DIN 661 Senkniete
Kerbstifte
DIN 1471 Kegelkerbstifte
DIN 1472 Passkerbstifte
DIN 1473 Zylinderkerbstifte
DIN 1474 Steckkerbstifte
DIN 1475 Knebelkerbstifte
Kerbnägel
DIN 1476 Halbrundkerbnägel
Zubehör für Seile
DIN 741 Drahtseilklemmen
Spannschlösser
Karabinerhaken aus Edelstahl A4
Schlauchschellen
Rostfrei A2
verzinkt
Scharniere
Sortimente
Sortimentskoffer
Holzschrauben
Blechschrauben
metrische Schrauben
Schrauben-Muttern-Scheiben
Muttern, Scheiben, Sicherungen
Werkzeugsortimente
sonstige Sortimente
Zur Kategorie Federn
Druckfedern
Druckfedern aus Federstahl
Druckfedern aus Edelstahl
Zugfedern
Zugfedern aus Federstahl
Zugfedern aus Edelstahl
Zur Kategorie Dübel
Fischer Dübel S
Fischer Dübel SX
Messing Spreizdübel
Zur Kategorie Donau-Elektronik
Werkzeuge
Zangen + Pinzetten
Schraubendreher
Feilen + Raspeln
Sägen + Messer
Sonstiges
Gewindeschneider
Gewindeschneidset
Handgewindebohrer
Maschinengewindebohrer
Gewindebohrer
Sackloch-Gewindebohrer
Schneideisen
Zubehör
HSS Bohrer
Bohrersets
HSS Spiralbohrer
HSS Spiralbohrer (lang)
HSS-Bohrer mit 2,35mm Schaft
Werkzeughalter
Basteln
Holzbausätze
Kreatives Basteln
Laubsägen
Elektronikbedarf
Elektronikzubehör
Leiterplattenhalter
Wärmeleitpaste
Schrumpfschlauch
Gehäuse
Gehäuseserie KGB
Gehäusezubehör
Kunststoffgehäuse
Hobby Drill
Hobby Drill Bohrmaschinen
Hobby Drill Zubehör
Kabel + Litzen
Kabelbinder
Klemmen + Adapter
Ladegeräte
Leuchtmittel
Löten
Lötgeräte
Lötmittel + Zubehör
Lötspitzen
Lötzinn
Mini-Stecker 2,6 mm
Modellbauzubehör
Module
Motoren + Zubehör
Schalter
Smart Kit Bausätze
Steckverbinder
Zähler
Zur Kategorie Werkzeuge
Bohrer für Stahl
Bohrer ab 0,2mm (Donau Elektronik)
Standard-Spiralbohrer HSS-R
geschliffene Spiralbohrer HSS-G
cobaltlegierte Spiralbohrer HSS-Co (auch für Edelstahl)
geschliffene Bohrer HSS-G mit 6-kant Aufnahme
linksschneidende Bohrer HSS-G
lange Bohrer
Senker
Bohrer für Holz
Schlangenbohrer
Schalungsbohrer
Forstnerbohrer
Holz Spiralbohrer
Aufsteckversenker
Bohrer für Stein
SDS-Hammerbohrer ECO
ROCKET 3 Hammerbohrer SDS PROFI
ROCKET 5 Hammerbohrer SDS - PROFI
Gewindeschneider
Gewindeschneider ab M 1 (Donau Elektronik)
Gewindeschneidsets
Gewindebohrer ab M2
Schneideisen ab M2
Halter
Schraubendreher
Feinmechaniker Schraubendreher (Donau Elektronik)
Schraubendreher-Sätze
Schraubendreher Schlitz
Schraubendreher PH-Kreuzschlitz
Schraubendreher PZ-Kreuzschlitz
Schraubendreher TX
VDE-Schraubendreher
Bit-Schraubendreher
Quergriff-Schraubendreher
Stiftschlüssel ISK ab 0,7mm
Winkelstiftschlüssel ISK + TX
Winkelstiftschlüssel Sätze ISK + TX
Bits
Mini Bits 4mm (Donau Elektronik)
Standardbits 1/4"
Bitsätze
Bit für Innen-TX 1/4"
Schraubenschlüssel
Schlüssel-Sätze (ab 1mm) Donau-Elektronik
Ratschenschlüssel SETS
Ratschenschlüssel Klassik
Ratschenschlüssel umschaltbar
Ratschenschlüssel flexibel
Ringgabelschlüssel
Doppelgabelschlüssel
Doppelringschlüssel
Rohrsteckschlüssel
Rollgabelschlüssel
Steckschlüssel
Steckschlüssel-Sätze
Steckschlüssel-Einzelteile
Zangen
Zangen (Donau Elektronik)
Zangen Sätze
Zangen
VDE-Zangen
kleine Elektronik-Zangen
Wasserpumpenzangen
Sicherungsring-Zangen
Blindnietzangen
Beiss- und Flechterzangen
Blech-/Figurenscheren
Grimp-Zangen
Bolzen- und Mattenschneider
Zangen + Pinzetten
sonstige Werkzeuge
Feilen und Raspeln (Donau Elektronik)
Klemmen und Zwingen (Donau-Elektronik)
Messer und Sägen (Donau-Elektronik)
Splinttreiber
Durchschlag und Körner
Schrauben-Ausdreher
Meißel
Drahtbürsten
Pinzetten
Messwerkzeuge
praktische Helfer (Donau-Elektronik)
Hammer
Schraubensicherung
Zur Kategorie Zollschrauben
Scheiben mit Zollmaßen
Standardscheiben in Zoll ähnl. DIN 125
Sicherungen mit Zollmaßen
Federringe in Zollmaßen ähnl. DIN 127
Schrauben mit UNC-Gewinde (amerikanisches Grobgewinde)
DIN 912 mit Innensechskant
Sechskantschrauben mit Vollgewinde ähnl. DIN 933
Sechskantschrauben mit Teilgewinde ähnl. DIN 931
Muttern mit UNC-Gewinde (amerikanisches Grobgewinde)
Sechskatntmuttern (Standard) ähnl. DIN 934
Sicherungsmuttern ähnl. DIN-982
Schrauben mit UNF-Gewinde (amerikanisches Feingewinde)
Sechskantschrauben mit Vollgewinde ähnl. DIN 933
Sechskantschrauben mit Teilgewinde ähnl. DIN 931
Muttern mit UNF-Gewinde (amerikanisches Feingewinde)
Sechskantmuttern (Standard) ähnl. DIN 934
Sicherungsmuttern ähnl. DIN-982
Sortimente mit UNC oder UNF-Gewinde
Schrauben mit BSW-Gewinde (britisches Grobgewinde)
Muttern mit BSW-Gewinde (britisches Grobgewinde)
Schrauben mit BSF-Gewinde (britisches Feingewinde)
Muttern mit BSF-Gewinde (britisches Feingewinde)
Zur Kategorie Normteile aus TITAN
Muttern
Scheiben
Zylinderkopf
Durchmesser 1,6
Durchmesser 2
Durchmesser 2,5
Durchmesser 3
Durchmesser 4
Halbrundkopf
Durchmesser 2
Durchmesser 2,5
Durchmesser 3
Durchmesser 4
Senkkopf
Durchmesser 2
Durchmesser 2,5
Durchmesser 3
Durchmesser 4
Menü schließen
Zeige alle Kategorien
Durchmesser-20
Zurück
Durchmesser-20 anzeigen
Schrauben
Metrische Schrauben
Besondere Schrauben
DIN 444 Augenschrauben
Stahl verzinkt
Durchmesser-20
Schrauben
Sortimente
Metrische Schrauben
Sechskantkopf
Zylinderkopf
Flachkopf
Linsenkopf
Senkkopf
Linsensenkkopf
Gewindestifte / Stangen
Abstandhalter
Schneidschrauben
Rändelschrauben
Gewindeeinsätze
Diebstahlhemmende (Rostfrei)
Besondere Schrauben
Blechschrauben
Holz- u. Spanplattenschrauben
Schrauben für Kunststoffe
Muttern
Scheiben
Sicherungen
ohne Gewinde
Federn
Dübel
Donau-Elektronik
Werkzeuge
Zollschrauben
Normteile aus TITAN
ANGEBOTE
Durchmesser-20
Filter
Filter
Hersteller
minischrauben.com
Durchmesser
20 mm
Menge
1 Stück
10 Stück
Gewinderichtung
RH
Gewindesteigung
2,50 mm
Kopfform
Ring
DIN/NORM
444
Länge
80 mm
100 mm
110 mm
120 mm
130 mm
140 mm
150 mm
160 mm
180 mm
200 mm
220 mm
240 mm
260 mm
280 mm
300 mm
Werkstoff
Stahl verzinkt
Diese Website verwendet Cookies, um eine bestmögliche Erfahrung bieten zu können.
Mehr Informationen ...
Ablehnen
Konfigurieren
Alle Cookies akzeptieren